Royand. Powered by Blogger.

Latihan Soal Alat Ukur




Pilihlah jawaban yang paling tepat pada soal dibawah ini !
  1. Dibawah ini merupakan peralatan yang dapat digunakan untuk mengukur panjang, lebar, tinggi dan kerenggangan, kecuali …..
A.  mistar baja                                              C. vernier caliper                                    E. hydrometer
B.  micrometer                                              D. feller gauge 
2. Vernier caliper mempunyai beberapa kegunaan, dibawah ini yang bukan kegunaan dari vernier caliper adalah …..

A.  mengukur diameter dalam                        C. mengukur kerenggangan                   E. mengukur tinggi
B.  mengukur diameter luar                            E. mengukur lebar
 3. Pembacaan yang benar pada gambar dibawah adalah …..


A.  6,15 mm                                            D. 5,00 mm
B.  6,00 mm                                            E. 5,5 mm
C.  5,15 mm
 4. Pembacaan yang benar pada gambar dibawah adalah …


A.  5,15 mm                                          
C.  7,65 mm
B.  6,15 mm                                            
D. 8,15 mm 
E. 8,65 mm 

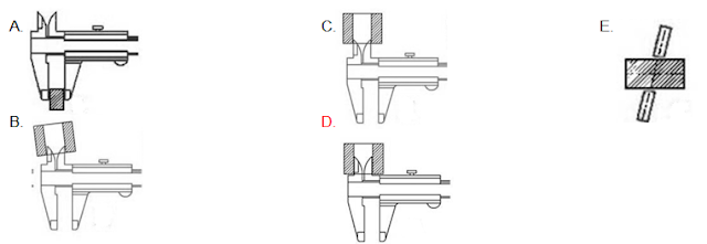
5. Posisi pengukuran vernier caliper yang tepat dibawah ini adalah …..
6. Hasil pembacaan vernier caliper pada gambar yang tepat adalah …..

A.  15,30 mm                              D. 16,30 mm
B.  15,35 mm                              E. 16,35 mm
C.  16,00 mm

7. Gambar di bawah merupakan penggunaan dari …..
 
A.  compression tester 
B.  timing light              
C.  dial indicator
D.  vacuum brake        
E. tachometer



8. Pada gambar di bawah menunjukkan bahwa multimeter digunakan untuk mengukur …

A.  tegangan   
B.  tahanan                 
C.  DC volt
D.  arus listrik 
E. AC volt           



9.  Alat untuk mengetahui RPM pada kendaraan adalah …..
  1. tachometer                                            C. multitester                                         E. timing light
  2. dwell tester                                            D. avometer

10.Untuk mengembalikan kembali keadaan alat ukur agar memperoleh pengukuran yang tepat adalah merupakan….
  1. keselamatan kerja                                  C. prosedur kalibrasi                             E. perawatan alat ukur
  2. prosedur pengukuran                             D. disiplin kerja
Kunci Jawaban 

  1. E
  2. C
  3. A
  4. C
  5. D
  6. E
  7. B
  8. B
  9. A
  10. C








Bagikan :
+
Previous
Next Post »
0 Komentar untuk "Latihan Soal Alat Ukur"
 
Copyright © 2015 dotSHARE - All Rights Reserved
Template By Kunci Dunia
Back To Top